Цепи роликовые с изогнутыми пластинами ПРИ (ГОСТ 10947-81)

Цепи роликовые приводные с изогнутыми пластинами могут быть успешно использованы в различных областях и сферах промышленности. Оборудование характеризуется высоким качеством и износостойкостью, что особенно важно при активной его эксплуатации. Цепи приводные с изогнутыми пластинами применяются в качестве элемента приводов промышленного назначения, куда относится дорожное, железнодорожное и сельскохозяйственное оборудование. Также цепи находят применение в нефте-, горнодобывающей, нефтеперерабатывающей промышленных отраслях. Цепи приводные выпускаются с разными присоединительными элементами, которые подбираются, исходя из особенностей условий протекания конкретного технологического процесса.
Цена: от 2 180 руб. за 1 п.м.
Пример условного обозначения при заказе
ПРИ-78,1-40000, где:
- ПРИ - цепь приводная роликовая с изогнутыми пластинами;
- 78,1 - шаг цепи;
- 40000 - разрушающая нагрузка, кг.
Общее описание

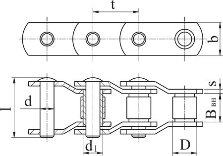
РИС. 1
Цепи приводные роликовые с изогнутыми пластинами ПРИ
|
Обозначение |
t |
Bвн |
D |
Разрушающая нагрузка, кг |
d |
d1 |
b |
s |
l |
Вес, 1 пог. м |
|---|---|---|---|---|---|---|---|---|---|---|
|
ПРИ-78,1-36000 |
78,1 |
38,10 |
33,30 |
36000 |
17,15 |
25 |
45,00 |
10 |
95,0 |
14,44 |
|
ПРИ-78,1-40000 |
78,1 |
38,10 |
40,00 |
40000 |
19,00 |
28 |
56,00 |
10 |
96,0 |
16,30 |
|
ПРИ-103,2-65000 |
103,2 |
49,00 |
46,00 |
65000 |
24,00 |
32 |
60,00 |
10 |
134,0 |
27,70 |